Introduction to Different Types of Optical Prisms

A prism is a transparent object surrounded by two planes that intersect but are not parallel to each other. The most important parameters of a prism are the angle and material. Prisms are widely used in splitting, depolarization, polarization, image orientation, dual channel instruments, etc.
There are four main types of prisms based on the function: dispersion prism, deflection or reflection prism, rotating prism and offset prism. Deflection, offset and rotating prisms are commonly used in imaging applications; diffusion prisms are designed for dispersive light sources and are not suitable for any application that requires high quality images.
Polygonal Prism
Deviating the prism of the ray path or shifting the image from its original axis, is helpful in many imaging systems. Light is typically deflected at 45, 60, 90 and 180 degrees. This helps to aggregate system size or adjust the ray path without affecting the rest of the system settings. The polygonal prism can be set to different angles of deflection according to customer needs.


Pentagonal Prism
The pentagonal prism has a stable light deviation, which is always 90 degrees regardless of the optical axis and light, and is used for measurement, laser scanning, alignment and other optical tools.
Main applications: visual aiming, projection, measurement, display systems.

Main applications: visual aiming, projection, measurement, display systems.

Dove Prism
Dove prism is a reflective prism used to invert an image.It is made up of a truncated right angle prism.A beam of light enters an inclined surface of the prism, undergoing complete internal reflection from the interior of the longest (bottom) surface and exiting from the opposite inclined surface. The image through the prism is flipped, because only one reflection occurs, so the image is inverted instead of transposed horizontally.

An interesting feature of a Dove Prism is as it rotates along its longitudinal axis, the emitted image rotates at twice the speed of the prism. Meaning, it can rotate the beam at any angle, which makes them useful in beam rotators, which are used in areas such as interferometry, astronomy and pattern recognition.

Half Pentagonal Prism
The semi-pentagon prisms’ main function is to deflect the light by 45°, and the image is dextrorotatory. Mainly used in the Pecan mirror assembly.


Micro-prism
The two common types of the Micro-prism are PentaPrism and Right-angle Prism. These two prisms are widely used in the field of optical fiber communication, especially in the core field of optical switches. Examples of such applications include circulator interleaver and MEMS.
Right Angle Prism
Right-angle prisms are used as mirrors to deflect light by 90 degrees or as retroreflectors, allowing light to pass through 180 degrees of total internal reflection. Right-angle prisms can also be used for applications such as stitching and beam shifting. In addition, using the critical angle characteristic, efficient internal total reflection of incident light is one of the basic functions of a right-angle prism.


When the exit surface is incident at a right angle, a 90 degree deflection can occur. The oblique side is the incident exit surface, and the light is deflected by 180 degrees.

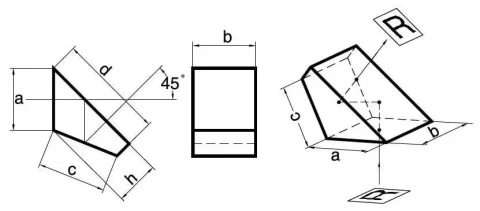
Roof Prism
The Roof Prism replaces one of the reflecting surfaces of an ordinary prism with a ridge surface and an angle of 90°.

It is suitable for use in optical applications where both beam steering and positive imaging are required.

Specification for standard Roof Prism:
Material: BK7 Grade A optical glass
Dimension Tolerance:+0,-0.2mm
Flatness: λ/4 at 632.8 nm
Surface Quality: 60-40 scratch and dig
Clear Aperture: >80%
Bevel: 0.2 mm to 0.5 mm x 45o
Angle Tolerance: ± 3arcmin
| Part no. | A(mm) | B(mm) | h(mm) |
| RFP0101 | 27.4 | 20.0 | 20.0 |
| RFP0102 | 41.1 | 30.0 | 30.0 |
Glued Prism
Customers can customize products with different indicators according to their requirements.

Corner Cube Prism
An important characteristic of a pyramid is that the reflected light is always parallel to the incident light, regardless of the angle of incidence. Corner cubes are used for target determination and quick alignment.

Mainly used for: interferometry, axis calibration, ranging, laser tracking, precision calibration

Shanghai Optics can provide high-precision prisms with arbitrary angles, sizes below 300mm and angular accuracy of 1 second. Customized coatings are available for different UV, visible and infrared wavelengths according to customer requirements.
Please visit our Optical Prisms page for more info!
Click here for the Optical Prism Application Notes technical article on our
Resource Library page.